פנל לד שקוע מרובע

גוף תאורה מתקדם בטכנולוגיית EDGE LIGHT. מיועד להתקנה שקועה, משמש להארת משרדים, בתי חולים, מרפאות, חנויות וכיתות לימוד.

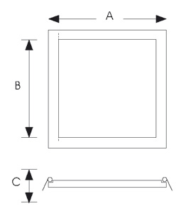
דגמים

מק"ט הספק A (מ"מ) B (מ"מ) C (מ"מ) קדח שטף אור
30226 18W 200 200 14 190X190 1620LM
30429 12W 170 170 14 160X160 1080LM
30431 22W 225 225 14 215X215 1980LM
30433 6W 100 100 14 90X90 540LM
30508 50W 600 600 14 590X590 4500LM
30510 3W 85 85 14 75X75 270LM
30566 30W 400 400 14 390X390 2700LM

מוצר זה חסר כרגע במלאי ואינו זמין.

השאירו פרטים התקשרו עכשיו
072-3718313